吴奇隆与刘诗诗关联公司注销这一事件引发多方关注。吴奇隆和刘诗诗在娱乐圈中是备受瞩目的明星夫妇。他们曾共同涉及的公司,或许见证了他们在演艺事业之外商业领域的合作探索。公司注销可能是出于多种经营战略调整的考量,也许是业务发展方向的改变,亦或是市场环境变化下的决策。这一举措对他们个人的商业布局产生了相应影响,同时也让外界对明星夫妇的商业运作动态产生好奇与猜测,成为娱乐与商业领域一个引人注目的话题。
近日,王大发爆料吴奇隆刘诗诗已经离婚了。谈到刘诗诗获得尖叫女神,王大发直言“终于不跟她那个前老公来往了”,相关话题登上热搜。
记者从天眼查App获悉,刘诗施(刘诗诗)名下关联13家企业,其中7家为存续状态,包括北京海润影业股份有限公司、江苏稻草熊影业有限公司、上海刘诗诗影视文化工作室等,刘诗施均为上述企业股东或投资人。

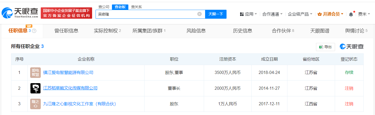
吴奇隆名下关联3家企业,仅镇江爱电智慧能源有限公司存续,其余江苏稻草熊文化传媒有限公司、九江隆之心影视文化工作室(有限合伙)已注销。

值得注意的是,江苏稻草熊文化传媒有限公司为吴奇隆与刘诗施共同关联公司,吴奇隆在该公司担任董事长,刘诗施间接持有该公司股份。
